ems国际快递app4.5.7
- 软件分类:安卓软件/生活实用
- 软件语言:中文
- 更新时间:2026/3/28 17:45:38
- 支持系统:Android/IOS
- 开发商:暂无
- 来源:互联网
- 详情
- 下载地址
- 同类热门
- 推荐专题
EMS国际快递App是由中国邮政速递物流官方推出的安卓端个人快件管理工具,也被称为“邮政EMS”。这款应用集快捷下单、实时查询、订单管理于一体,打造一站式掌上寄件体验,无论您身处何地、何时有寄递需求,都能轻松完成操作。依托中国邮政覆盖全国的200多个高效邮件处理中心,以及强大的航空与陆路运输网络,EMS不仅实现国内通达无死角,更在全球范围内构建起稳定可靠的国际寄递服务体系。多种快递产品与增值服务,全面满足用户个性化、多样化的寄件需求。
全球寄递服务,覆盖220+国家和地区
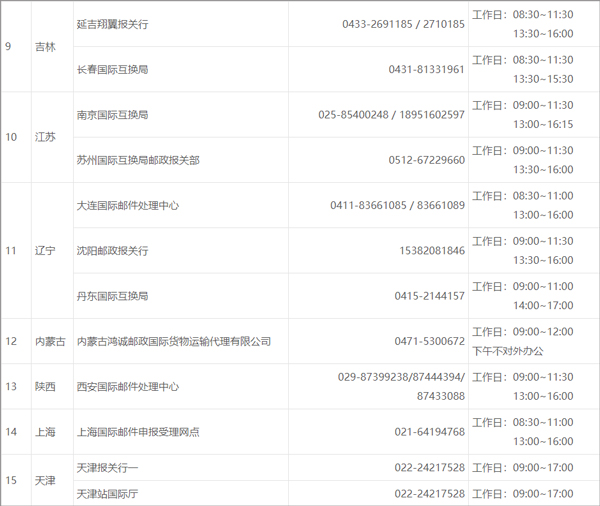
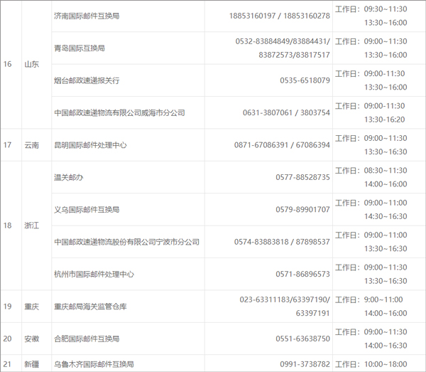
EMS国际快递业务深度协同各国(地区)邮政、海关及航空部门,打通绿色便捷的跨境邮寄通道。揽收网点广泛,投递网络强大,且收费透明——无燃油附加费、无偏远地区附加费、无个人地址投递费。用户可全程追踪邮件状态,享受高效、合规的进出口清关服务,让国际寄件更安心、更省心。
五大国际业务,满足多元跨境需求
国际(地区)特快专递(国际EMS):由中国邮政与全球邮政合作推出,提供中国大陆与境外之间的快速直发服务,适用于文件、资料及物品寄递,并支持多形式全程跟踪查询。同时提供保价、代客包装、代客报关等延伸服务,保障寄递安全与效率。
中速快件:通达全球220多个国家和地区,提供从文件、样品到50公斤以上重货的门到门或门到港服务,以快速、稳定、安全为核心,满足商业客户多样化寄递场景。
e特快:专为跨境电商高端寄递需求打造,全流程在内部处理、清关转运、落地配送、尺寸标准及信息追踪等方面均执行更高标准,助力卖家提升发货效率、优化买家体验、增加店铺好评与流量。
中邮海外购:聚焦跨境进口物流,通过在线制单、电子申报、线上缴税、全程状态追踪等功能,为境外至中国的个人包裹提供高效、正规、合法的清关与配送服务,适配日益增长的海淘消费需求。
商业渠道进口业务:面向跨境电子商务进口市场,提供时限稳定、流程合规的个人包裹入境申报与配送解决方案,确保包裹安全、快速通关送达。
三步轻松寄国际快件
1. 打开EMS国际快递App,首页点击“港澳台/国际”入口。

2. 在寄件页面填写寄件人与收件人地址,并选择合适的寄递方式。

3. 务必完整填写海关申报信息(此为必填项),确认无误后提交订单即可完成寄递申请。

海关申报指南:合规寄递的关键
申报流程:系统内按指引逐步填写品名、数量、价值等信息,并上传有效身份证件,确保清关顺畅。

常见问题说明:
客户注册:需使用手机号注册,一个用户仅限一个账户;注册前请仔细阅读相关条款,避免后续纠纷。
物品关税:用户须如实申报物品品名、数量与价值,并承担不实申报的全部责任。所有寄往中国的个人物品均可能被征税,未及时缴税将导致退运或罚没,并承担相关费用。根据海关规定,寄往港澳台地区物品限值800元人民币,其他地区限值1000元人民币;物品须为个人自用、日常生活用品,且数量合理。
身份证上传要求:为加快清关,必须上传有效身份证正反面照片。要求:正反面分两张图、横向端正拍摄、图像清晰、边界可见、非白色底色、图片小于400KB(支持JPG/JPEG/PNG格式),且证件有效期须超过3个月。
货物类邮件报关手续:如邮件按货物申报,需提供以下材料:通知单、签章的《代理委托报关书》、正式或形式发票、装箱清单、进出口报关单、合同(任一版本)、邮件详情单。所有文件需加盖公司公章。邮政在收齐资料及费用后代办报关。若自申报之日起15日内未完成清关,将产生完税价格0.5‰的滞报金。
联系邮政客服:如有疑问,可通过App内联系方式或线下网点获取支持。




惠农专项服务,助力乡村振兴
惠农“易邮箱”:采用按箱计费模式,提供标识统一、规格标准、高性价比的快递服务。覆盖全国,以陆运为主,适合旅游购物、校园寄递、特色农产品等场景。用户可在最大限重内自由装箱,节省成本。提供四种标准箱型,可购买邮政纸箱或按标准自备(需邮政监制)。
极速鲜惠农服务:面向农民合作社、家庭农场等新型农业经营主体,依托邮政航空+冷链干线网络,提供高品质农产品专属寄递方案。服务包含网运优先保障、冷链专线定制、整车直发、主动客服、快速理赔等,打通“农产品进城”高效通道,助力优质农产品走向全国。
禁止寄递物品清单(请务必遵守)
为保障公共安全与合规运营,以下物品严禁通过邮政渠道寄递:
国内禁寄范围包括但不限于:枪支弹药(含仿制品)、管制刀具及器具(如弩、电击器)、爆炸物(炸药、烟花爆竹等)、压缩/液化气体(氢气、打火机气体等)、易燃液体(汽油、酒精、油漆)、易燃固体(硫磺、火柴)、自燃或遇水易燃物(黄磷、金属钠)、氧化剂(双氧水、高锰酸盐)、毒害品(砒霜、汞、剧毒农药)、生化感染物(病菌、医疗废弃物)、放射性物质(铀、镭)、腐蚀品(硫酸、蓄电池)、毒品及易制毒化学品、非法出版物、间谍器材、伪造证件、侵权假冒商品、濒危野生动植物制品(象牙、犀牛角)、疫区物品、涉密文件,以及国家法律法规明确禁止寄递的其他物品(详见《危险化学品目录》《禁止进出境物品表》等官方文件)。
更新日志
v6.1.0版本
为您优化了体验细节,提升操作流畅度与稳定性。
- 厂商:暂无
- 包名:com.kun.ems
- 版本:4.5.7
- MD5值:32544d30ba5478a183f06730350d3d05




































